站点索引
网站管理
丽江嘉和网络科技有限公司
丽江嘉和网络科技有限公司
首页
关于我们
服务项目
商品中心
信息动态
诚聘英才
商务合作
联系我们
信息动态
INFO CENTER
在线帮助
信息动态
精品推荐
智能中控屏A6
智能客需助手前台神器免费通话
小度智能音箱大金刚酒店版
智慧酒店
狄耐克智能家居隆重上线
服务热线
187-8767-9824
首页
>
信息动态
信息动态
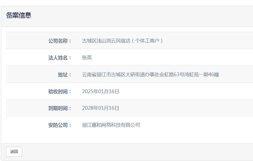
关于古城区浅山流云民宿店(个体工商户)电子监控安防合格证下证通知
时间:2025/1/16 16:02:58 公司名:丽江嘉和网络科技有限公司 浏览量:
239
新闻资讯 / NEWS
关于丽江市古城区逸云庭居酒店管理有限责任公司电子监控安防合格证下证通知
关于古城区陆和子衿客栈店电子监控安防合格证下证通知
关于古城区沐澜景客栈店(个体工商户)电子监控安防合格证下证通知
关于古城区陆和听澜客栈店(个体工商户)电子监控安防合格证下证通知
关于丽江望田野酒店管理有限公司电子监控安防合格证下证通知
关于古城区隐兰别院客栈电子监控安防合格证下证通知
关于古城区朵瑶庭院民宿店(个体工商户)电子监控安防合格证下证通知
关于古城区岚屿六善酒店(个体工商户)电子监控安防合格证下证通知
关于我们
公司资质
商务合作
招贤纳士
联系我们
网站管理
187-8767-9824